Home > products > Pump > Multi-stage Pumps
QDL/QDLF8


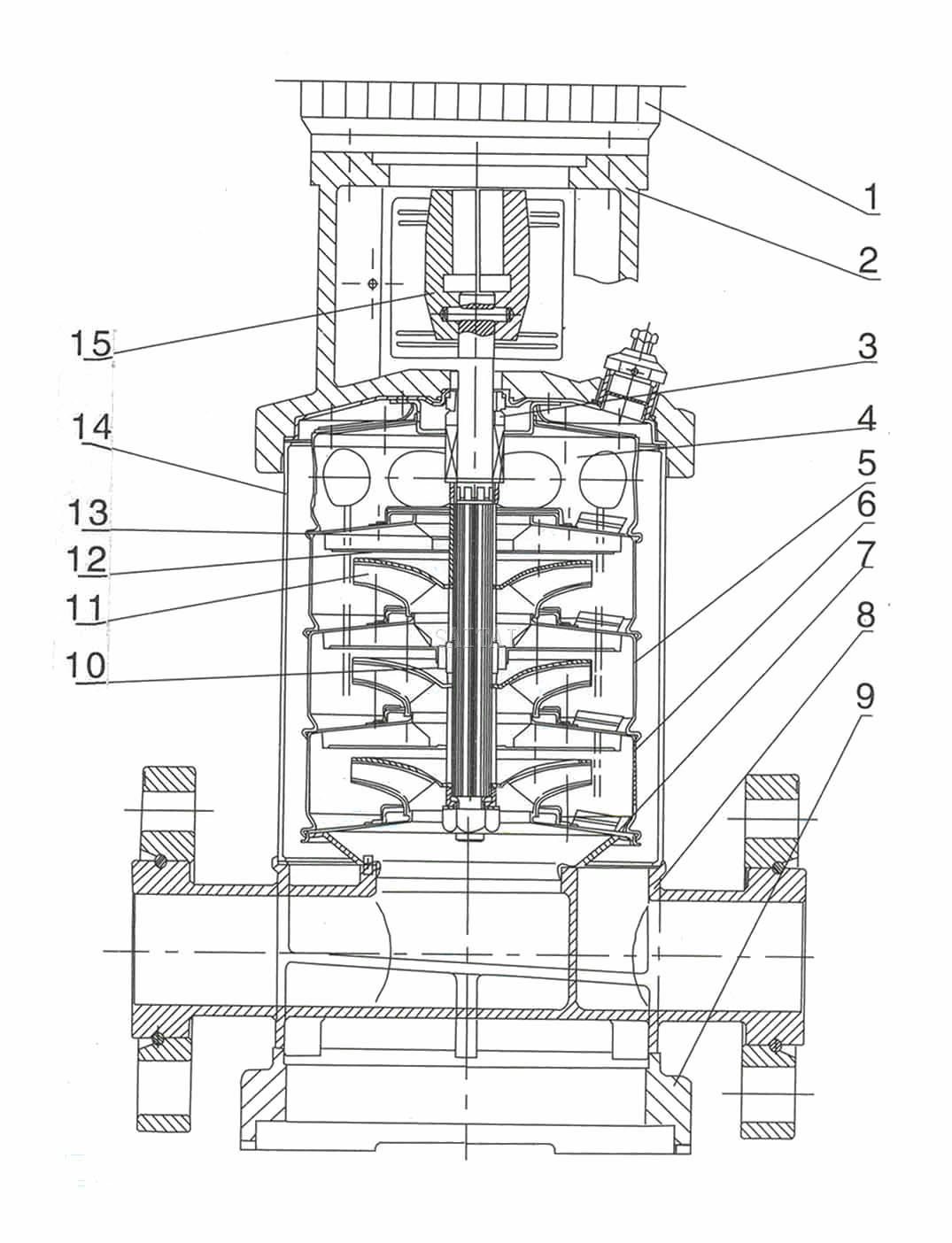
I Section drawing QDL,QDLF8,16 for Vertical Multistage Centrifugal Pump

II Material QDL,QDLF8,16
NO. |
Name | Material | AISI ASTM |
| 1 | Electric motor | ||
| 2 | Electric motor frame | Cast iron | ASTM25B |
| 3 | Mechanical seal | ||
| 4 | Outlet Inducer | Stainless steel | AISI304 |
| 5 | Bearing frame Inducer | Stainless steel | AISI304 |
| 6 | Inducer | Stainless steel | AISI304 |
| 7 | Inlet Inducer | Stainless steel | AISI304 |
| 8 | Pump frame | Stainless steel | AISI304 |
| 9 | Base frame | Cast iron | ASTM25B |
| 10 | Bearing | Tungsten carbide | |
| 11 | Impeller | Stainless steel | AISI304 |
| 12 | Shaft | Stainless steel | AISI316 |
| 13 | Impeller sleeve | Stainless steel | AISI304 |
| 14 | Pressure-resistant cylinder | Stainless steel | |
| 15 | Coupling | Carbon steel | |
| Rubber parts | FPM |
III Performance table for QDL/QDLF8
| Model | Driving motor(KW) | Q (m3/h) | 5 | 6 | 7 | 8 | 9 | 10 | 11 | 12 |
| QDL8-20/1 | 0.75 | H (m) | 10 | 9.5 | 9.3 | 9 | 8.5 | 8 | 7 | 6 |
| QDL8-20 | 0.75 | 20 | 19.5 | 19 | 18 | 17 | 16 | 14 | 13 | |
| QDL8-30 | 1.1 | 30 | 29.5 | 28.5 | 27 | 25 | 24 | 21 | 19 | |
| QDL8-40 | 1.5 | 41 | 39.5 | 38 | 36 | 34 | 32 | 28 | 26 | |
| QDL8-50 | 2.2 | 52 | 50 | 48 | 45 | 42 | 40 | 36 | 32 | |
| QDL8-60 | 2.2 | 62 | 60 | 57 | 54 | 51 | 48 | 43 | 39 | |
| QDL8-80 | 3.0 | 83 | 80 | 77 | 73 | 69 | 65 | 58 | 52 | |
| QDL8-100 | 4.0 | 104 | 100 | 97 | 92 | 87 | 81 | 73 | 65 | |
| QDL8-120 | 4.0 | 124 | 120 | 116 | 111 | 104 | 92 | 87 | 78 | |
| QDL8-140 | 5.5 | 145 | 141 | 136 | 130 | 122 | 113 | 102 | 92 | |
| QDL8-160 | 5.5 | 166 | 161 | 156 | 148 | 139 | 130 | 118 | 106 | |
| QDL8-180 | 7.5 | 187 | 182 | 175 | 167 | 157 | 146 | 134 | 120 | |
| QDL8-200 | 7.5 | 208 | 202 | 195 | 186 | 175 | 163 | 150 | 135 |
IV Size and weight for QDL/QDLF8
| Model | Size(mm) | Weight(kg) | ||||
| B1 | B2 | B1+B2 | D1 | D2 | ||
| QDL8-20/1 | 350 | 245 | 595 | 170 | 142 | 25 |
| QDL8-20 | 350 | 245 | 595 | 170 | 142 | 25 |
| QDL8-30 | 380 | 245 | 625 | 170 | 142 | 30 |
| QDL8-40 | 420 | 290 | 710 | 190 | 155 | 30 |
| QDL8-50 | 450 | 290 | 740 | 190 | 155 | 40 |
| QDL8-60 | 480 | 290 | 770 | 190 | 155 | 40 |
| QDL8-80 | 550 | 315 | 865 | 197 | 165 | 45 |
| QDL8-100 | 610 | 335 | 945 | 230 | 188 | 55 |
| QDL8-120 | 670 | 335 | 1005 | 230 | 188 | 55 |
| QDL8-140 | 750 | 430 | 1180 | 260 | 208 | 80 |
| QDL8-160 | 810 | 430 | 1240 | 260 | 208 | 80 |
| QDL8-180 | 870 | 430 | 1300 | 260 | 208 | 90 |
| QDL8-200 | 930 | 430 | 1360 | 260 | 208 | 90 |
QDL/QDLF8 Vertical Multistage Centrifugal Pump Related Products
Next:Vertical Multi-Stage Single Suction In-Line Pumps
Catalog:Multi-stage Pumps