Home > products > Pump > Multi-stage Pumps
QDL/QDLF4


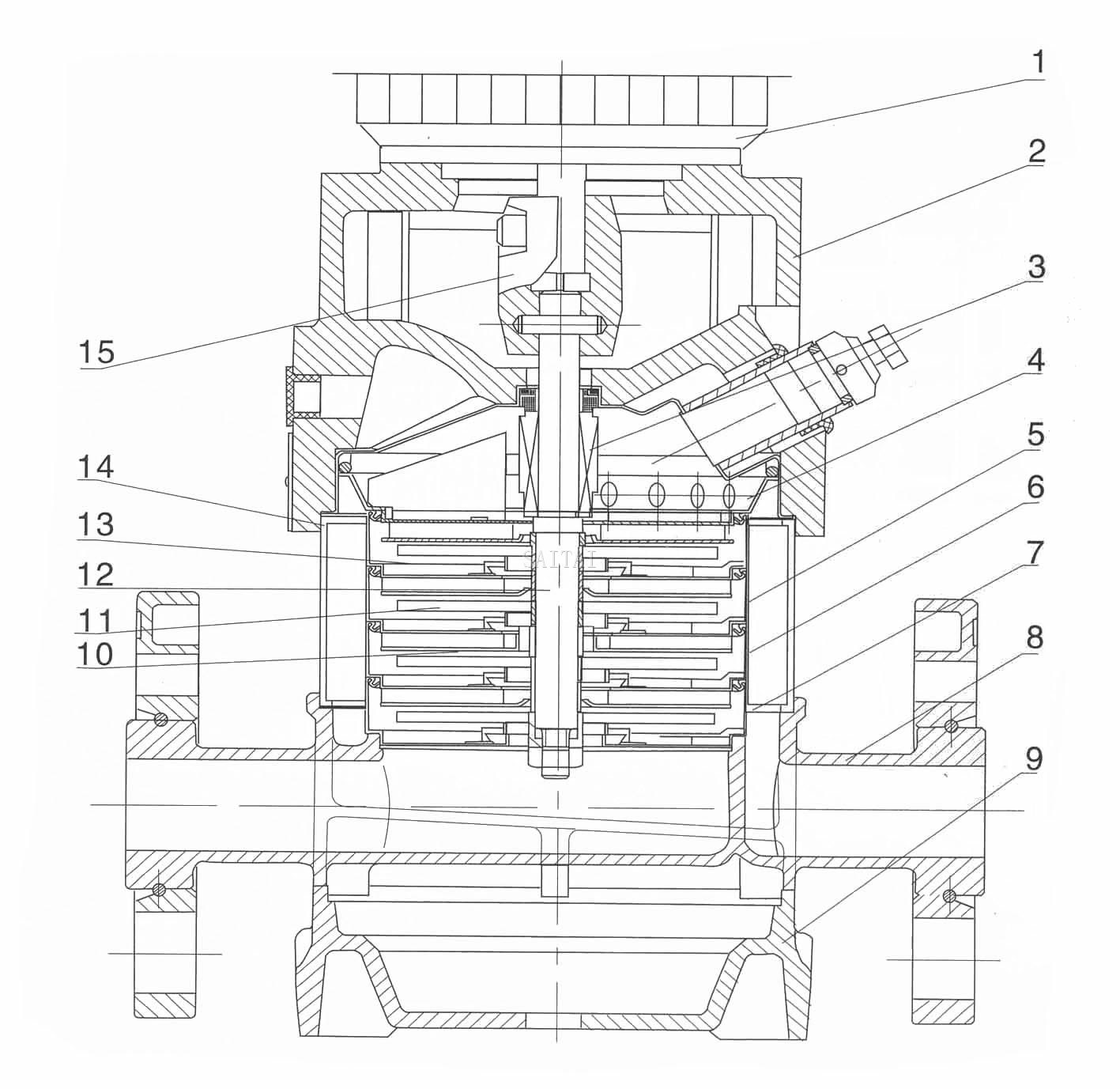
I Section drawing QDL,QDLF2,4 for Vertical Multistage Centrifugal Pump

II Material QDL,QDLF2,4
NO. |
Name | Material | AISI ASTM | NO. | Name | Material | AISI ASTM |
| 1 | Electric motor | 9 | Base frame | Cast iron | ASTM25B | ||
| 2 | Electric motor frame | Cast iron | ASTM25B | 10 | Bearing | Tungsten carbide | AISI304 |
| 3 | Mechanical seal | 11 | Impeller | Stainless steel | AISI316 | ||
| 4 | Outlet Inducer | Stainless steel | AISI304 | 12 | Shaft | Stainless steel | AISI304 |
| 5 | Bearing frame Inducer | Stainless steel l |
AISI304 | 13 | Impeller separating sleeve | Stainless steel | AISI304 |
| 6 | Inducer | Stainless steel | AISI304 | 14 | Pressure-resistant cylinder | Stainless steel | |
| 7 | Inlet Inducer | Stainless steel | AISI304 | 15 | Coupling | Carbon steel | |
| 8 | Pump frame | Stainless steel | ASTM25B | Rubber parts | FPM |
III Performance table for QDL/QDLF4
| Model | Driving motor(KW) | Q (m3/h) | 1.5 | 2.0 | 3.0 | 4.0 | 5.0 | 6.0 | 7.0 | 8.0 |
| QDL4-20 | 0.37 | H (m) | 19 | 18 | 17 | 15 | 13 | 10 | 8 | 6 |
| QDL4-30 | 0.55 | 28 | 27 | 26 | 24 | 20 | 18 | 13 | 10 | |
| QDL4-40 | 0.75 | 38 | 36 | 34 | 32 | 27 | 24 | 19 | 13 | |
| QDL4-50 | 1.1 | 47 | 45 | 43 | 40 | 34 | 31 | 23 | 17 | |
| QDL4-60 | 1.1 | 56 | 54 | 52 | 48 | 41 | 37 | 28 | 20 | |
| QDL4-70 | 1.5 | 66 | 63 | 61 | 56 | 48 | 43 | 33 | 24 | |
| QDL4-80 | 1.5 | 74 | 72 | 70 | 64 | 55 | 50 | 38 | 27 | |
| QDL4-100 | 2.2 | 96 | 90 | 87 | 81 | 71 | 62 | 48 | 34 | |
| QDL4-120 | 2.2 | 114 | 108 | 104 | 95 | 85 | 75 | 58 | 41 | |
| QDL4-140 | 3.0 | 136 | 126 | 122 | 112 | 101 | 89 | 68 | 48 | |
| QDL4-160 | 3.0 | 152 | 144 | 140 | 129 | 115 | 101 | 78 | 55 | |
| QDL4-190 | 4.0 | 183 | 171 | 168 | 153 | 137 | 122 | 93 | 67 | |
| QDL4-220 | 4.0 | 211 | 200 | 192 | 178 | 160 | 138 | 108 | 79 |
IV Size and weight for QDL/QDLF4
| Model | Size(mm) | Weight(kg) | ||||
| B1 | B2 | B1+B2 | D1 | D2 | ||
| QDL4-20 | 238 | 210 | 448 | 148 | 117 | 20 |
| QDL4-30 | 265 | 210 | 475 | 148 | 117 | 20 |
| QDL4-40 | 297 | 245 | 542 | 170 | 142 | 20 |
| QDL4-50 | 324 | 245 | 569 | 170 | 142 | 25 |
| QDL4-60 | 351 | 245 | 596 | 170 | 142 | 25 |
| QDL4-70 | 395 | 290 | 685 | 190 | 155 | 30 |
| QDL4-80 | 422 | 290 | 712 | 190 | 155 | 30 |
| QDL4-100 | 476 | 290 | 766 | 190 | 155 | 30 |
| QDL4-120 | 530 | 290 | 820 | 190 | 155 | 35 |
| QDL4-140 | 592 | 315 | 907 | 197 | 165 | 35 |
| QDL4-160 | 646 | 315 | 961 | 197 | 165 | 40 |
| QDL4-190 | 727 | 335 | 1062 | 230 | 188 | 45 |
| QDL4-220 | 808 | 335 | 1143 | 230 | 188 | 50 |
QDL/QDLF4 Vertical Multistage Centrifugal Pump Related Products
Next:QDL/QDLF8 Vertical Multistage Centrifugal Pump
Catalog:Multi-stage Pumps