三片式活接對焊球閥

三片式活接對焊球閥圖(3PC)Q61F-16/64 P/R
產品特征
- 公稱壓力:1.6-6.4MPa
- 適用溫度範圍:-20~232℃~350℃
- 適用介質:水、油、氣及某些腐蝕性液體(W.O.G)。
- 對焊標準(BW):GB12224•ANSI B 16•25
主要連接尺寸及重量
| SIZE | 1/4″ | 3/8″ | 1/2″ | 3/4″ | 1″ | 1 1/4″ | 2 1/2″ | 2″ |
| d | 11.6 | 12.7 | 15 | 20 | 25 | 32 | 38 | 50.8 |
| D | 17 | 17 | 21 | 26 | 31 | 38 | 46 | 60 |
| L | 150 | 150 | 180 | 195 | 210 | 225 | 260 | 300 |
| H | 48 | 48 | 54 | 57 | 73 | 79 | 81 | 97 |
| E | 120 | 120 | 120 | 130 | 154 | 154 | 185 | 185 |
主要零件材料

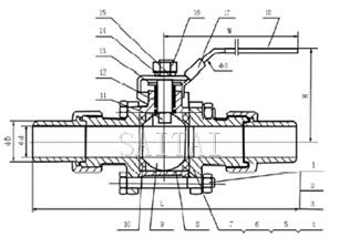
三片式活接對焊球閥總裝圖
| 序號 | 零件名稱 | 材質 |
| 1 | 螺栓 | 不鏽鋼SS304 |
| 2 | 彈簧墊圈 | 不鏽鋼SS304 |
| 3 | 螺母 | 不鏽鋼SS304 |
| 4 | 閥蓋 | 不鏽鋼CF8/CF8M |
| 5 | 螺母 | 不鏽鋼CF8 |
| 6 | 套管 | 不鏽鋼CF8 |
| 7 | 墊圈 | 聚四氟乙烯PTFE |
| 8 | 閥體 | 不鏽鋼CF8/CF8M |
| 9 | 球 | 不鏽鋼CF8M |
| 10 | 閥座 | 聚四氟乙烯PTFE |
| 11 | 閥杆 | 不鏽鋼SS316 |
| 12 | 填料 | 聚四氟乙烯PTFE |
| 13 | 壓緊螺母 | 不鏽鋼SS304 |
| 14 | 手柄 | 不鏽鋼SS304 |
| 15 | 彈簧墊圈 | 不鏽鋼SS304 |
| 16 | 螺母 | 不鏽鋼SS304 |
| 17 | 鎖片 | 不鏽鋼SS304 |
| 18 | 手柄套 | 塑料 |
注:
1.本網頁的三片式活接對焊球閥結構、結構圖、尺寸、參數等主要性能參數,以及安裝尺寸圖、安裝尺寸表均隻適用於參考,詳細CAD圖、安裝圖、以及產品說明書請向賽泰閥門營銷人員索取。
2.由於編輯水平有限,錯誤和不妥之處在所難免,真誠希望您批評指正。
三片式活接對焊球閥相關產品
下一頁:三片式法蘭球閥
返回至本係列目錄:球閥
上一頁:三片式卡箍球閥