信譽發展

首頁 > 賽泰產品 > 水泵 > 多級泵

QDL、QDLF型不鏽鋼立式多級離心泵

QDL、QDLF型不鏽鋼立式多級離心泵(簡稱:QDL、QDLF多級泵),係屬輕型不鏽鋼製立式多級離心泵類產品。具有以下特點:
低噪聲:配置Y2型優型電機運行平穩,噪聲低
無泄漏:特選機械密封,科學的加工工藝,專業技術的保證,實現了"無泄漏"的追求
拆裝簡便:剛性聯軸器,花鍵泵軸設計,且重理相比鑄鐵泵減輕約50%,操作性更好
安裝便捷:進、出水口在同一水平麵,對管路要求降低,且管路使用更可靠,穩定性高
泵房建築投資更少:在原來立式多級泵的基礎上進行革新,體積小,占地麵積小
避免水質的第二次汙染:導流部件、軸等用不鏽鋼製造,克服了鑄鐵泵汙染嚴重的缺點,保證了水質的質量
無鏽蝕困擾:采用不鏽鋼套筒,更好的適應各種環境,永不生鏽
壽命更長:不鏽鋼板材衝壓、焊接葉輪,重量輕、平衡性好,運行穩定
維護費用低:采用水潤承設計,運行更可靠,無須潤滑保養
高效節能:更優水力模型、光滑的過流部件,大大提高了機械效率

QDL、QDLF型不鏽鋼立式多級離心泵
QDL、QDLF型不鏽鋼立式多級離心泵

QDL、QDLF多級泵產品範圍

說明/ QDL2 QDL4 QDL8 QDL16 QDL32
額定流量/ [m3/h] 2 4 8 16 32
額定流量/ [1/s] 0.56 1.1 2.2 4.4 8.9
流量範圍/ [m3/h] 1~3.5 1.5~8 5~12 8~22 16~40
流量範圍/ [1/s] 0.28~0.97 0.42~2.2 1.4~3.3 2.2~6.1 4.4~11.1
最大壓力/ [bar] 23 21 21 22 26
電機功率/ [kw] 0.37~3 0.37~4 0.75~7.5 2.2~15 1.5~30
溫度範圍/ [°C] -15~+120
最高效率 46 59 64 70 76
類型
QDL
QDLF
QDLF管路聯接
DIN法蘭 DN25 DN32 DN40 DN50 DN65
管螺紋

QDL、QDLF多級泵應用範圍

QDL/QDLF是一種多功能產品,可以輸送從自來水到工業液體的各種不同介質,適應於不同溫度、流量和壓力範圍,QDL適應於無腐蝕性液體,QDLF適用於輕度腐蝕性液體。供水:水廠過濾器與輸送、水廠分區送水、主管增壓、高層建築增壓。工業增壓:流程水係統、清洗係統、高壓衝洗係統、消防係統。工業液體輸送:冷卻和空調係統、鍋爐給水和冷凝係統、機床配套、酸和堿。水處理:超濾係統、反滲透係統、蒸餾係統、分離器、遊泳池。灌溉:農田灌溉、噴灌、滴灌。

QDL、QDLF多級泵運行條件

介質:稀薄、幹淨、非易燃易爆並不含固體顆粒或纖維的液體。 液體溫度:常溫型-15°C至+70°C。 熱水型:+70°C至+120°C。 環境溫度:最高+40°C。 海拔:最高1000m。

QDL、QDLF多級泵泵體與電機

QDL/QDLF為安裝標準電機的非自吸不鏽鋼立式多級泵,電機軸通過泵頭用聯軸器直接與泵軸聯接,拉杆螺栓將耐壓筒、過流部件固定在泵頭和進出水段之間,泵進出水口在泵底同一直線上;本泵可規格需要配置智能保護器,對泵幹轉、缺相、過載等進行有效保護。 電機為全封閉,風冷式二級標準電機。防護等級:IP55;絕緣等級:F; 標準電壓:50Hz:1×220-230/240V;3×200-220/346-380V;3×220-240/380-415V;3×380-415V

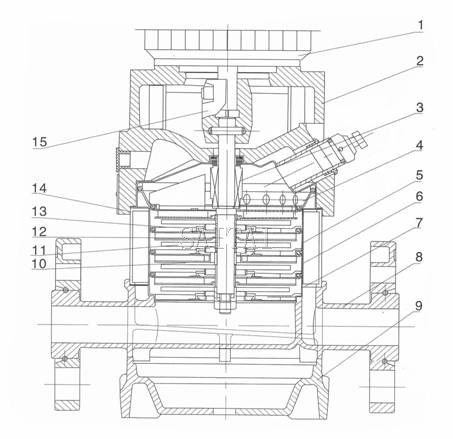
QDL、QDLF多級泵截麵圖QDL,QDLF2,4

QDL、QDLF多級泵截麵圖QDL,QDLF2,4
QDL、QDLF多級泵截麵圖QDL,QDLF2,4

QDL、QDLF多級離心泵 材料QDL,QDLF2,4

序號 名稱 材料 AISI 序號 名稱 材料 AISI
1 電 機 9 底座 鑄鐵 ASTM25B
2 電 機 座 鑄鐵 ASTM25B 10 軸承 碳化鎢 AISI304
3 機械密封 11 葉輪 不鏽鋼 AISI316
4 出口導流器 不鏽鋼 AISI304 12 不鏽鋼 AISI304
5 帶軸承座導流器 不鏽鋼 l AISI304 13 葉輪隔 不鏽鋼 AISI304
6 導流器 不鏽鋼 AISI304 14 耐壓筒 不鏽鋼
7 進口導流器 不鏽鋼 AISI304 15 聯軸器 碳鋼
8 泵座 不鏽鋼 ASTM25B 橡膠零件 FPM

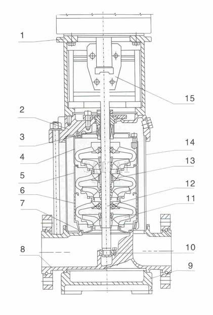
QDL、QDLF多級泵截麵圖QDL,QDLF8,16

QDL、QDLF多級泵截麵圖QDL,QDLF8,16
QDL、QDLF多級泵截麵圖QDL,QDLF8,16

QDL、QDLF多級泵材料QDL,QDLF8,16

序號 名稱 材料 AISI ASTM
1 電 機
2 電 機 座 鑄鐵 ASTM25B
3 機械密封
4 出口導流器 不鏽鋼 AISI304
5 帶軸承座導流器 不鏽鋼 AISI304
6 導流器 不鏽鋼 AISI304
7 進口導流器 不鏽鋼 AISI304
8 泵座 不鏽鋼 AISI304
9 底座 鑄鐵 ASTM25B
10 軸承 碳化鎢
11 葉輪 不鏽鋼 AISI304
12 不鏽鋼 AISI316
13 葉輪隔 不鏽鋼 AISI304
14 耐壓筒 不鏽鋼
15 聯軸器 碳鋼
橡膠零件 FPM

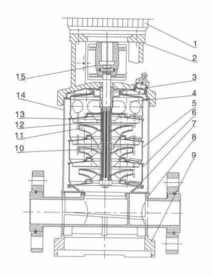
QDL、QDLF多級泵截麵圖QDL,QDLF32

QDL、QDLF多級泵截麵圖QDL,QDLF32
QDL、QDLF多級泵截麵圖QDL,QDLF32

QDL、QDLF多級泵材料QDL,QDLF32

序號 名稱 材料 AISI ASTM
1 電 機 座 鑄鐵 ASTM25B
3 機械密封 碳化鎢
4 出口導流器 不鏽鋼 AISI304
5 帶軸承座導流器 不鏽鋼 AISI304
6 導流器 不鏽鋼 AISI304
7 進口導流器 不鏽鋼 AISI304
9 底座 鑄鐵 ASTM25B
10 下軸承 碳化鎢
11 葉輪 不鏽鋼 AISI304
12 不鏽鋼 AISI316
13 中間軸套 碳化鎢
14 耐壓筒 不鏽鋼 AISI304
15 聯軸器 碳鋼
橡膠零件 FPM
QDL
2 泵端座 鑄鐵 ASTM25B

QDL、QDLF多級泵型號含義

QDL、QDLF多級泵型號含義
QDL、QDLF多級泵型號含義

QDL、QDLF多級泵最大進口壓力

型號 最大進口壓力
QDL, QDLF2
QDL,QDLF2-20 6[bar]
QDL,QDLF2-30~2-110 10[bar]
QDL,QDLF-130~2-260 15[bar]
QDL,QDLF4
QDL,QDLF4-20 6[bar]
QDL,QDLF4-30~4-100 10[bar]
QDL,QDLF4-120~4-220 15[bar]
QDL,QDLF8
QDL,QDLF8-20/1~8-60 6[bar]
QDL,QDLF8-80~8-200 10[bar]
QDL,QDLF16
QDL,QDLF16-20~16-30 6[bar]
QDL,QDLF16-40~16-160 10[bar]
QDL,QDLF32
QDL,QDLF32-10-1~32-20-2 3[bar]
QDL,QDLF32-20~32-40 4[bar]
QDL,QDLF32-50-2~32-100 10[bar]
QDL,QDLF32-110-2~32-140 15[bar]

QDL、QDLF多級泵最大工作壓力

型號 曲線號
QDL,QDLF2
QDL,QDLF2-20~150 1
QDL,QDLF2-180~2-260 2
QDL,QDLF4
QDL,QDLF4-20~4-140 1
QDL,QDLF4-160~4-220 2
QDL,QDLF8
QDL,QDLF8-20/1~8-120 1
QDL,QDLF8-140~8-200 3
QDL,QDLF16
QDL,QDLF16-20~16-80 1
QDL,QDLF16-100~16-160 3
QDL,QDLF32
QDL,QDLF32-10-1~32-70 1
QDL,QDLF32-80-2~32-120 4
QDL,QDLF32-130-2~32-140 5

QDL、QDLF2係列多級泵尺寸和重量

泵型號 尺寸(毫米) 重量 (公斤)
B1 B2 B1+ B2 D1 D2
QDL2-20 220 225 445 145 110 20
QDL2-30 238 225 463 145 110 20
QDL2-40 256 225 481 145 110 20
QDL2-50 274 225 499 145 110 20
QDL2-60 297 225 522 145 110 25
QDL2-70 315 225 540 145 110 25
QDL2-90 351 245 596 170 150 30
QDL2-110 387 245 632 170 150 30
QDL2-130 440 245 685 170 150 35
QDL2-150 476 245 721 170 150 35
QDL2-180 530 265 795 180 155 40
QDL2-220 602 265 867 180 155 45
QDL2-260 682 290 972 180 155 50

QDL、QDLF2係列多級泵性能表

泵型號 配用電機(KW) Q m3/h 1 1.2 1.6 2.0 2.4 2.8 3.2 3.5
QDL2-20 0.37 Hm 18 17 16 15 13 12 10 8
QDL2-30 0.37 27 26 24 22 20 18 15 12
QDL2-40 0.55 36 35 33 30 26 24 20 16
QDL2-50 0.55 45 43 40 37 33 30 24 20
QDL2-60 0.75 53 52 50 45 40 36 30 24
QDL2-70 0.75 60 61 57 52 47 41 35 28
QDL2-90 1.1 80 78 73 67 61 54 45 37
QDL2-110 1.1 98 95 89 82 73 64 54 44
QDL2-130 1.5 116 114 106 98 89 78 65 52
QDL2-150 1.5 134 130 123 112 100 90 73 60
QDL2-180 2.2 161 157 148 136 121 108 91 76
QDL2-220 2.2 197 192 180 165 148 130 110 90
QDL2-260 3.0 232 228 214 198 179 158 130 110

QDL、QDLF4係列多級泵尺寸和重量

泵型號 尺寸(毫米) 重量 (公斤)
B1 B2 B1+ B2 D1 D2
QDL4-20 235 225 460 145 110 20
QDL4-30 265 225 490 145 110 20
QDL4-40 295 225 520 145 110 20
QDL4-50 325 245 570 170 150 20
QDL4-60 350 245 595 170 150 20
QDL4-80/7 420 245 665 170 150 25
QDL4-80 420 245 665 170 150 25
QDL4-100 475 265 740 180 155 30
QDL4-120 530 265 795 180 155 30
QDL4-160/4 645 290 935 180 155 35
QDL4-160 645 290 935 180 155 35
QDL4-190 725 325 1050 210 180 35
QDL4-220 805 325 1130 210 180 40

QDL、QDLF4係列多級泵性能表

泵型號 配用電機(KW) Q m3/h 1.5 2.0 3.0 4.0 5.0 6.0 7.0 8.0
QDL4-20 0.37 Hm 19 18 17 15 13 10 8 6
QDL4-30 0.55 28 27 26 24 20 18 13 10
QDL4-40 0.75 38 36 34 32 27 24 19 13
QDL4-50 1.1 47 45 43 40 34 31 23 17
QDL4-60 1.1 56 54 52 48 41 37 28 20
QDL4-80/7 1.5 66 63 61 56 48 43 33 24
QDL4-80 1.5 74 72 70 64 55 50 38 27
QDL4-100 2.2 96 90 87 81 71 62 48 34
QDL4-120 2.2 114 108 104 95 85 75 58 41
QDL4-160/4 3.0 136 126 122 112 101 89 68 48
QDL4-160 3.0 152 144 140 129 115 101 78 55
QDL4-190 4.0 183 171 168 153 137 122 93 67
QDL4-220 4.0 211 200 192 178 160 138 108 79

QDL、QDLF8係列多級泵尺寸和重量

泵型號 尺寸(毫米)   重量 (公斤
B1 B2 B1+ B2 D1 D2 D3
QDL8-20 350 225 575 145 110   25
QDL8-30 380 245 625 170 150   30
QDL8-40 425 245 670 170 150   30
QDL8-50 455 265 720 180 155   40
QDL8-60 485 265 750 180 155   40
QDL8-80 550 290 840 180 155   45
QDL8-100 610 325 935 210 180   55
QDL8-120 670 325 995 210 180   55
QDL8-140 750 395 1145 230 190 300 80
QDL8-160 810 395 1205 230 190 300 80
QDL8-180 870 435 1305 270 210 300 90
QDL8-200 930 435 1365 270 210 300 90

QDL、QDLF8係列多級泵性能表

泵型號 配用電機(KW) Q m3/h 5 6 7 8 9 10 11 12
QDL8-20 0.75 Hm 21 20 19 18 17 16 15 14
QDL8-30 1.1 31 30 29 28 26 24 23 20
QDL8-40 1.5 41 40 39 37 35 32 30 27
QDL8-50 2.2 52 50 48 46 44 41 37 34
QDL8-60 2.2 62 60 58 55 53 49 45 41
QDL8-80 3.0 83 80 78 74 70 65 60 54
QDL8-100 4.0 104 100 97 92 88 80 75 68
QDL8-120 4.0 125 120 116 110 105 97 90 81
QDL8-140 5.5 146 140 136 129 123 113 105 95
QDL8-160 5.5 166 160 155 147 140 130 120 108
QDL8-180 7.5 187 180 175 166 158 146 135 122
QDL8-200 7.5 208 200 194 185 175 162 150 135

QDL、QDLF16係列多級泵尺寸和重量

泵型號 尺寸(毫米)   重量 (公斤
B1 B2 B1+ B2 D1 D2 D3
QDL16-30/2 455 265 720 180 155   40
QDL16-30 455 290 745 180 155   50
QDL16-40 500 325 825 210 180   55
QDL16-50 565 395 960 230 190 300 70
QDL16-60 610 395 1005 230 190 300 75
QDL16-70 655 435 1090 270 210 300 80
QDL16-80 700 435 1135 270 210 300 80
QDL16-100 820 490 1310 330 255 350 115
QDL16-120 910 490 1400 330 255 350 115
QDL16-140 1000 490 1490 330 255 350 160
QDL16-160 1090 490 1580 330 255 350 165

QDL、QDLF16係列多級泵性能表

泵型號 配用電機(KW) Q m3/h 8 10 12 14 16 18 20 22
QDL16-30/2 2.2 Hm 28 27 26 25 23 21 19 17
QDL16-30 3.0 42 41 39 37 35 32 29 26
QDL16-40 4.0 56 54 52 50 47 44 38 34
QDL16-50 5.5 69 68 65 62 59 54 48 43
QDL16-60 5.5 83 81 78 75 70 64 58 52
QDL16-70 7.5 97 95 92 87 82 75 68 61
QDL16-80 7.5 111 108 105 100 94 86 77 70
QDL16-100 11 139 136 131 125 118 108 97 87
QDL16-120 11 167 163 157 150 141 129 116 105
QDL16-140 15 194 190 184 175 165 151 136 122
QDL16-160 15 222 217 210 200 189 173 155 140

QDL、QDLF多級泵並聯運行

jiangduotaibengbinglianqudaiyitaidabengkenenggengjuyouyuexing。zaibianliuliangxitongzhong,shiyingxitongsuoxugongzuodian。zengjiagongshuikenengxing,yinweidangbengchuguzhangshi,jinyingxiangxitongdebufenliuliang 檢查確保不會/沒有處於氣蝕狀態 如果工作需求變化考慮將兩台或更多台並聯

注:
1.本網頁的QDL、QDLF型不鏽鋼立式多級離心泵結構、結構圖、尺寸、參數、流量、揚程、電機轉速等主要性能參數,以及安裝尺寸圖、安裝尺寸表均隻適用於參考,詳細CAD圖、安裝圖、以及產品說明書請向賽泰水泵營銷人員索取。
2.由於編輯水平有限,錯誤和不妥之處在所難免,真誠希望您批評指正。

QDL、QDLF型不鏽鋼立式多級離心泵相關產品

下一頁:D型臥式多級離心泵

返回至本係列目錄:多級泵

上一頁:DF型多級臥式離心泵

關閉在線客服
"
  • 銷售熱線

  • 總機:
  • 手機:180 1631 9660