直動式<a href="http://http://cnctw.com.cn/jianyafa.html">減壓閥</a>

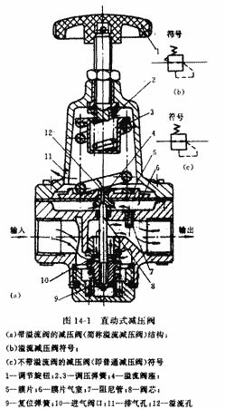
圖14―1a所示為直動式帶溢流閥的<a href="http://http://cnctw.com.cn/jianyafa.html">減壓閥</a>(簡稱溢流<a href="http://http://cnctw.com.cn/jianyafa.html">減壓閥</a>)的結構圖。
壓力為P1的壓縮空氣,由左端輸入經閥口10節流後,壓力降為P2輸出。P2的大小可由調壓彈簧2、3進行調節。順時針旋轉旋鈕1,壓縮彈簧2、3及膜片5使閥芯8下移,增大閥口10的開度使P2增大。若反時針旋轉旋鈕1,閥口10的開度減小,P2隨之減小。
若P1瞬時升高,P2將隨之升高,使膜片氣室6內壓力升高,在膜片5上產生的推力相應增大,此推力破壞了原來力的平衡,使膜片5向上移動,有少部分氣流經溢流孔12、排氣孔11排出。在膜片上移的同時,因複位彈簧9的作用,使閥芯8也向上移動,關小進氣閥口10,節流作用加大,使輸出壓力下降,直至達到新的平衡為止,輸出壓力基本又回到原來值。若輸入壓力瞬時下降,輸出壓力也下降、膜片5下移,閥芯8隨之下移,進氣閥口10開大,節流作用減小,使輸出壓力也基本回到原來值。 逆時針旋轉旋鈕1。使調節彈簧2、3放鬆,氣體作用在膜片5上的推力大於調壓彈簧的作用力,膜片向上曲,靠複位彈簧的作用關閉進氣閥口10。再旋轉旋鈕1,進氣閥芯8的頂端與溢流閥座4將脫開,膜片氣室6中的壓縮空氣便經溢流孔12、排氣孔11排出,使閥處於無輸出狀態。
總之,溢流減壓閥是靠進氣口的節流作用減壓,靠膜片上力的平衡作用和溢流孔的溢流作用穩壓;調節彈簧即可使輸出壓力在一定範圍內改變。為防止以上溢流式減壓閥徘出少量氣體對周圍環境的汙染,可采用不帶溢流閥的減壓閥(即普通減壓閥),其符號如圖14―1c所示。
先導式減壓閥

當(dang)減(jian)壓(ya)閥(fa)的(de)輸(shu)出(chu)壓(ya)力(li)較(jiao)高(gao)或(huo)通(tong)徑(jing)較(jiao)大(da)時(shi),用(yong)調(tiao)壓(ya)彈(dan)簧(huang)直(zhi)接(jie)調(tiao)壓(ya),則(ze)彈(dan)簧(huang)剛(gang)度(du)必(bi)然(ran)過(guo)大(da),流(liu)量(liang)變(bian)化(hua)時(shi),輸(shu)出(chu)壓(ya)力(li)波(bo)動(dong)較(jiao)大(da),閥(fa)的(de)結(jie)構(gou)尺(chi)寸(cun)也(ye)將(jiang)增(zeng)大(da)。為(wei)了(le)克(ke)服(fu)這(zhe)些(xie)缺(que)點(dian),可(ke)采(cai)用(yong)先(xian)導(dao)式(shi)減(jian)壓(ya)閥(fa)。先(xian)導(dao)式(shi)減(jian)壓(ya)閥(fa)的(de)工(gong)作(zuo)原(yuan)理(li)與(yu)直(zhi)動(dong)式(shi)的(de)基(ji)本(ben)相(xiang)同(tong)。先(xian)導(dao)式(shi)減(jian)壓(ya)閥(fa)所(suo)用(yong)的(de)調(tiao)壓(ya)氣(qi)體(ti),是(shi)由(you)小(xiao)型(xing)的(de)直(zhi)動(dong)式(shi)減(jian)壓(ya)閥(fa)供(gong)給(gei)的(de)。若(ruo)把(ba)小(xiao)型(xing)直(zhi)動(dong)式(shi)減(jian)壓(ya)閥(fa)裝(zhuang)在(zai)閥(fa)體(ti)內(nei)部(bu),則(ze)稱(cheng)為(wei)內(nei)部(bu)先(xian)導(dao)式(shi)減(jian)壓(ya)閥(fa);若將小型直動式減壓閥裝在主閥體外部,則稱為外部先導式減壓閥。 圖14―2所示為內部先導式減壓閥的結構圖,與直動式減壓閥相比,該閥增加了由噴嘴4、擋板3、固定節流孔9及氣室B所組成的噴嘴擋板放大環節。當噴嘴與擋板之間的距離發生微小變化時,就會使B室中的壓力發生根明顯的變化,從而引起膜片10有較大的位移,去控製閥芯6的上下移動,使進氣閥口8開大或關小、提高了對閥芯控製的靈敏度,即提高了穩壓精度。

圖14―3所示為外部先導式減壓閥的主閥,其工作原理與直動式相同。在主閥體外部還有一個小型直動式減壓閥(圖中末示出),由它來控製主閥。此類閥適於通徑在20mm以上,遠距離(30m以內)、高處、危險處、調壓困難的場合。
定值器
定值器是一種高精度的減壓閥,主要用於壓力定值。目前有兩種壓力規格的定值器:其氣源壓力分別為0.14MPa和0.35MPa,輸出壓力範圍分別為0―0.1MPa和0一0.25MPa。其輸出壓力波動不大於最大輸出壓力的1%,常用於需要供給精確氣源壓力和信號壓力的場合,如氣動實驗設備、氣動自動裝置等。

圖14―4所示為定值器的工作原理圖。它由三部分組成:1是直動式減壓閥的主閉部分;2是恒壓降裝置,相當於一定差減壓閥。主要作用是使噴嘴得到穩定氣源流量;3是噴嘴擋板裝置和調壓部分,起調壓和壓力放大作用,利用被它放大了的氣壓去控製主閥部分。
由於定值器具有調定、比較和放大的功能,因而穩壓精度高。
定值器處於非工作狀態時,由氣源輸入的壓縮空氣經過濾器1過濾後進入A室和正室。主閥芯19在彈簧20和氣源壓力作用下壓在閥座上,使A室與B室斷開。進入A室的氣流經由閥口(又稱為活門)12至F室,再通過恒節流孔13降壓後,分別進入G室和D室。由於這時尚未對膜片8加力,擋板5與噴嘴4之間的間距較大,氣體從噴嘴4流出時的氣流阻力較小,G室及D室的氣壓較低,膜片3及15保持原始位置。進入隻室的微量氣體主要經B室通過閥口2從排氣口排出;另ling有you一yi部bu分fen從cong輸shu出chu口kou排pai空kong。此ci時shi輸shu出chu口kou無wu氣qi流liu輸shu出chu,由you噴pen嘴zui流liu出chu而er排pai空kong微wei量liang氣qi體ti是shi維wei持chi噴pen嘴zui擋dang板ban裝zhuang置zhi工gong作zuo所suo必bi須xu的de,因yin其qi為wei無wu功gong耗hao氣qi量liang,所suo以yi希xi望wang其qi耗hao量liang越yue小xiao越yue好hao。
定值器處於工作狀態時,轉動手柄7,壓下彈簧6並推動膜片8連同擋板5一同下移、擋板5與噴嘴4的間距縮小,氣流阻力增加,使G室和D室的氣壓升高。膜片16在D室氣壓的作用下下移,將閥口2關閉,並向下推動主閥芯19,打開閥口,壓縮空氣經B室和H室由輸出口輸出。與此同時,H室壓力上升並反饋到膜片8上,當膜片8所受反饋作用力與彈簧力平衡時,定值器便輸出一定壓力的氣體。
當輸入壓力波動時,如壓力上升,B室和H室氣壓瞬時增高、使膜片8上移,導致擋板5與噴嘴4之間的間距加大,G室和D室的氣壓下降。由於B室壓力增高,D室壓力下降,膜片15在壓差的作用下向上移動,使主閥口減小,輸出壓力下降,直到穩定到調定壓力上。此外,在輸入壓力上升時,E室壓力和F室瞬時壓力也上升,膜片3在上下差壓的作用下上移,關小穩壓閥口12。由於節流作用加強,F室氣壓下降,始終保持節流孔13的前後壓差恒定,故通過節流孔13的氣體流量不變,使噴嘴擋板的靈敏度得到提高。當輸入壓力降低時,B室和H室的壓力瞬時下降,膜片8連同擋板5由於受力平衡破壞而下移,噴嘴4與擋板5間間距減小,G室和D室壓力上升,膜片3和15下移。膜片15下移使主閥口開度加大,使B室及H室氣壓回升,直到與調定壓力平衡為止。而膜片3下移,使穩壓口12開大,F室氣壓上升,始終保持恒節流孔13前後壓差恒定。同理,當輸出壓力波動時,將與輸入壓力波動時得到同樣的調節。
youyudingzhiqiliyongshuchuyalidefankuizuoyonghepenzuidangbandefangdazuoyongkongzhizhufa,shiqinengduijiaoxiaodeyalibianhuazuochufanying,congershishuchuyalidedaojishitiaojie,baochichukouyalijibenwending,jidingzhiwenyajingdujiaogao。
您可能還需要以下技術文章:
冷凝水對蒸汽減壓閥穩定工作的影響
截止閥的優缺點及選用原則
鋼製截止閥的設計標準
各類截止閥的適用場合