信譽發展

首頁 > 賽泰產品 > 水泵 > 排汙泵

JYWQ、JPWQ係列自動攪勻排汙泵

JYWQ、JPWQ係列自動攪勻排汙泵(簡稱JYWQ、JPWQ排汙泵),xishuxinxingdaizidongjiaoyungongnengchanpin。shizaiputongxingpaiwubengdejichushangcaiyongzidongjiaobanzhuangzhi,gaizhuangzhisuidianjizhouxuanzhuan,chanshengjiqiangdejiaobanli,jiangwushuichineidechenjiwujiaobanchengxuanfuwu,xirubengneipaichu,tigaolebengdefangdu、排汙能力,一次性完成了排水、清汙、除淤,節約了運行成本,是具有明顯的先進性和實用性的環保產品。

JYWQ、JPWQ係列自動攪勻排汙泵
JYWQ、JPWQ係列自動攪勻排汙泵

JYWQ、JPWQ排汙泵型號說明

JYWQ、JPWQ係列自動攪勻排汙泵型號說明
JYWQ、JPWQ係列自動攪勻排汙泵型號說明

1、 注:JYWQ為普通型自動攪勻排汙泵 JPWQ為帶不鏽鋼外套內循環冷卻係統的自動攪勻排汙泵

JYWQ、JPWQ排汙泵產品用途

1、 工廠、商業嚴重汙染廢水的排放。
2、 城市汙水處理廠、醫院、賓館的排水係統。
3、 住宅區的汙水排水站。
4、 人防係統排水站、自來水廠的給水裝置。
5、 市政工程、建築工地。
6、 勘探、礦山、發電廠配套附機。
7、 農村沼氣池、農田灌溉、河塘清淤。

JYWQ、JPWQ排汙泵使用條件

1、 介質溫度不超過60°C,介質重度為1~1.3kg/dm3,PH值在4~10範圍內。
2、 1Crl8Ni9Ti不鏽鋼材質可適用各種腐蝕性介質。
注:用戶如有特殊的介質、溫度等要求,請在訂貨時注明輸送介質詳細情況,以便本公司提供更為可靠之產品。

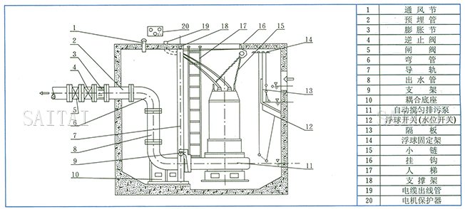
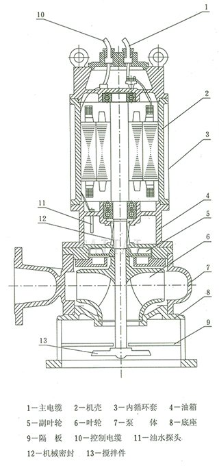
JYWQ、JPWQ係列自動攪勻排汙泵結構圖
JYWQ、JPWQ係列自動攪勻排汙泵結構圖

JYWQ、JPWQ排汙泵結構特點說明

JYWQ、JPWQ係列自動攪勻排汙泵結構圖
JYWQ、JPWQ係列自動攪勻排汙泵結構圖

1、 采用獨特的雙流道無堵塞葉輪結構,提高汙水汙物的過流能力和排汙能力。
2、 自動攪拌裝置,產生極強的攪拌力,將池內的沉澱物攪拌成懸浮物後吸入葉輪排出,達到清淤的作用。
3、 隔板將底座一分為二,攪拌與進水互不影響。
4、 機械密封為雙端麵機械密封,長期處於油室中,保證水泵安全可靠地運行。
5、 副葉輪結構的流體動力密封,既有輔助密封作用,從而保護機械密封,又平衡軸向力,延長軸承的使用壽命。
6、 泵接線腔內設有漏水檢測探頭,出現漏水時,探水時,探頭發出信號,控製係統對泵實施保護。本公司可配全自動安全保護控製櫃。
7、 電機定子采用B級和F級絕緣,內設熱保護器,當電機過載發熱,保護器及時作出動作,對泵和電機實施相對的保護。
8、 油室內裝有油水探頭,當機械密封損壞後,水進入油室,探頭發出信號,由控製係統對水泵實施保護。
9、 JPWQ帶內循環冷卻係統,能保證水泵在水池最低水位正常工作。

JYWQ、JPWQ排汙泵性能參數

序號 型號 排出口徑
(mm)
額定流量
(m3/h)
額定揚程
(m)
攪拌直徑
(mm)
轉速
(r/min)
功率
(kw)
效率
()
自動
耦合器
1 50-12-15-1200-1.5 50 12 15 1200 2900 1.5 48 GAK-50
2 50-20-7-1200-1.1 50 20 7 1200 2900 1.1 62 GAK-50
3 50-10-10-1200-1.1 50 10 10 1200 2900 1.1 56 GAK-50
4 50-15-15-1200-2.2 50 15 15 1200 2900 2.2 51 GAK-50
5 50-25-10-1200-2.2 50 25 10 1200 2900 2.2 65 GAK-50
6 50-15-20-1200-2.2 50 15 20 1200 2900 2.2 56 GAK-50
7 50-20-15-1200-2.2 50 20 15 1200 2900 2.2 56 GAK-50
8 50-42-9-1200-3 50 42 9 1200 2900 3 56 GAK-50
9 50-17-25-1200-4 50 17 25 1200 2900 4 56 GAK-50
10 50-25-22-1200-4 50 25 22 1200 2900 4 62 GAK-50
11 50-40-15-1400-4 50 40 15 1400 2900 4 70 GAK-50
12 50-25-32-1600-5.5 50 25 32 1600 2900 5.5 52 GAK-50
13 50-40-30-1600-7.5 50 40 30 1600 2900 7.5 68 GAK-50
14 65-25-15-1400-3 65 25 15 1400 2900 3 65 GAK-65
15 65-37-13-1400-3 65 37 13 1400 2900 3 62 GAK-65
16 65-25-28-1400-4 65 25 28 1400 2900 4 60 GAK-65
17 80-40-7-1600-2.2 80 40 7 1600 2900 2.2 54 GAK-80
18 80-29-8-1600-2.2 80 29 8 1600 2900 2.2 54 GAK-80
19 80-43-13-1600-4 80 43 13 1600 2900 4 63 GAK-80
20 80-50-10-1600-3 80 50 10 1600 1450 3 76 GAK-80
21 80-40-15-1600-4 80 40 15 1600 2900 4 70 GAK-80
22 80-60-13-1600-4 80 60 13 1600 2900 4 70 GAK-80
23 80-35-25-1600-5.5 80 35 25 1600 2900 5.5 64 GAK-80
24 80-50-30-1600-7.5 80 50 30 1600 2900 7.5 70 GAK-80
25 80-50-30-1600-7.5 80 50 30 1600 2900 7.5 70 GAK-80
26 100-80-9-2000-4 100 80 9 2000 1450 4 62 GAK-100
27 100-110-10-2000-5.5 100 110 10 2000 1450 5.5 71 GAK-100
28 100-70-15-2000-5.5 100 70 15 2000 1450 5.5 71 GAK-100
29 100-100-15-2000-7.5 100 100 15 2000 1450 7.5 73 GAK-100
30 100-80-20-2000-7.5 100 80 20 2000 2900 7.5 71 GAK-100
31 100-50-35-2000-11 100 50 35 2000 2900 11 68 GAK-100
32 100-70-22-2000-7.5 100 70 22 2000 2900 7.5 70 GAK-100
33 100-100-22-2000-15 100 100 22 2000 1450 15 61 GAK-100
34 100-80-30-2000-15 100 80 30 2000 1450 15 67 GAK-100
35 150-150-10-2000-7.5 150 150 10 2000 1450 7.5 75 GAK-150
36 150-210-7-2500-7.5 150 210 7 2500 1450 7.5 78 GAK-150
37 150-250-6-2500-7.5 150 250 6 2500 1450 7.5 79 GAK-150
38 150-150-15-2500-11 150 150 15 2500 1450 11 79 GAK-150
39 150-200-10-2500-15 150 200 10 2500 1450 15 73 GAK-150
40 150-65-40-3200-18.5 150 65 40 3200 1450 18.5 58 GAK-150
41 150-180-22-2600-18.5 15 180 22 2600 1450 18.5 75 GAK-150
42 150-150-26-2600-18.5 150 150 26 2600 1450 18.5 72 GAK-150
43 150-110-30-2600-18.5 150 110 30 2600 1450 18.5 72 GAK-150
44 150-130-15-2600-22 150 130 15 2600 1450 22 76 GAK-150
45 150-130-30-2600-22 150 130 30 2600 1450 22 70 GAK-150
46 150-100-40-3000-30 150 100 40 3000 1450 30 64 GAK-150
47 200-300-7-3000-11 200 300 7 3000 1450 11 75 GAK-200
48 200-250-11-3000-15 200 250 11 3000 1450 15 72 GAK-200
49 200-300-10-3000-15 200 300 10 3000 1450 15 75 GAK-200
50 200-250-15-3000-18.5 200 250 15 3000 1450 18.5 72 GAK-200
51 200-400-10-3000-22 200 400 10 3000 1450 22 75 GAK-200
52 200-200-20-3000-22 200 200 20 3000 1450 22 73 GAK-200
53 200-250-22-3000-30 200 250 22 3000 1450 30 73 GAK-200
54 250-600-7-3000-22 250 600 7 3000 1450 22 78 GAK-250
55 250-600-9-3000-30 250 600 9 3000 1450 30 78 GAK-250

移動式JYWQ、JPWQ排汙泵安裝尺寸表及示意圖

JYWQ、JPWQ係列自動攪勻排汙泵結構示意圖1
JYWQ、JPWQ係列自動攪勻排汙泵結構示意圖1
序號 型 號 A B C D1 D H
1 50-12-15-1200-1.5 135 400 245 225 255 670
2 50-20-7-1200-1.1 132 343 225 150 180 610
3 50-10-10-1200-1.1 132 343 225 150 180 610
4 50-15-15-1200-2.2 135 400 245 225 255 670
5 50-25-10-1200-2.2 135 400 245 225 255 670
6 50-15-20-1200-2.2 135 400 245 225 255 670
7 50-20-15-1200-2.2 135 400 245 225 255 670
8 50-42-9-1200-3 143 420 265 225 255 750
9 50-17-25-1200-4 130 433 265 240 285 750
10 50-25-22-1200-4 135 400 245 225 255 735
11 50-40-15-1400-4 143 420 265 225 255 750
12 50-25-32-1600-5.5 180 480 295 270 320 820
13 50-40-30-1600-7.5 180 480 295 270 320 820
14 65-25-15-1400-3 143 435 270 225 255 750
15 65-37-13-1400-3 143 435 270 225 255 750
16 65-25-28-1400-4 180 515 317 270 320 800
17 80-40-7-1600-2.2 143 465 295 225 255 685
18 80-29-8-1600-2.2 143 465 295 225 255 685
19 80-43-13-1600-4 143 465 295 225 255 750
20 80-50-10-1600-3 180 570 325 280 320 790
21 80-40-15-1600-4 143 465 395 225 255 750
22 80-60-13-1600-4 143 465 395 225 255 750
23 80-35-25-1600-5.5 180 550 305 270 320 820
24 80-50-30-1600-7.5 180 550 305 270 320 820
25 80-50-30-1600-7.5 180 550 305 270 320 820
26 100-80-9-2000-4 180 600 386 280 320 790
27 100-110-10-2000-5.5 200 700 440 370 410 900
28 100-70-15-2000-5.5 200 690 430 370 410 900
29 100-100-15-2000-7.5 200 700 440 370 410 900
30 100-80-20-2000-7.5 180 585 370 270 320 900
31 100-50-35-2000-11 180 585 370 270 320 940
32 100-70-22-2000-7.5 180 585 370 270 320 900
33 100-100-22-2000-15 230 815 515 455 495 970
34 100-80-30-2000-15 230 815 515 455 495 970
35 150-150-10-2000-7.5 213 775 495 360 405 920
36 150-210-7-2500-7.5 242 830 540 365 410 950
37 150-250-6-2500-7.5 242 830 540 365 410 950
38 150-150-15-2500-11 220 770 495 345 395 990
39 150-200-10-2500-15 220 770 495 345 395 990
40 150-65-40-3200-18.5 250 930 595 440 495 1206
41 150-180-22-2600-18.5 270 930 595 440 495 1226
42 150-150-26-2600-18.5 270 930 595 440 495 1226
43 150-110-30-2600-18.5 270 930 595 440 495 1226
44 150-130-15-2600-22 300 900 575 440 495 1265
45 150-130-30-2600-22 270 930 595 440 495 1226
46 150-100-40-3000-30 270 930 595 440 495 1200
47 200-300-7-3000-11 270 945 605 400 445 1130
48 200-250-11-3000-15 270 945 605 400 445 1130
49 200-300-10-3000-15 270 945 605 400 445 1130
50 200-250-15-3000-18.5 270 945 605 400 445 1226
51 200-400-10-3000-22 270 945 605 400 445 1226
52 200-200-20-3000-22 297 980 630 440 495 1236
53 200-250-22-3000-30 297 980 630 440 495 1236

固定式自動耦合JYWQ、JPWQ排汙泵安裝尺寸表及示意圖

序號 型號 фA фB фC N1-фd H K G H1 H2 H3 h g p f y N2-фk J R
1 50-12-15-1200-1.5 50 110 140 4-ф14 670 265 165 280 450 50 20 260 230 310 210 4-ф16 185 115
2 50-20-7-1200-1.1 50 110 140 4-ф14 610 245 165 280 400 50 20 260 230 310 210 4-ф16 185 85
3 50-10-10-1200-1.1 50 110 140 4-ф14 610 245 165 280 400 50 20 260 230 310 210 4-ф16 185 85
4 50-15-15-1200-2.2 50 110 140 4-ф14 670 265 165 280 450 50 20 260 230 310 210 4-ф16 185 115
5 50-25-10-1200-2.2 50 110 140 4-ф14 670 265 165 280 450 50 20 260 230 310 210 4-ф16 185 115
6 50-15-20-1200-2.2 50 110 140 4-ф14 670 265 165 280 450 50 20 260 230 310 210 4-ф16 185 115
7 50-20-15-1200-2.2 50 110 140 4-ф14 670 265 165 280 450 50 20 260 230 310 210 4-ф16 185 115
8 50-42-9-1200-3 50 110 140 4-ф14 750 285 165 280 520 50 20 260 230 310 210 4-ф16 185 115
9 50-17-25-1200-4 50 110 140 4-ф14 750 285 165 280 520 50 20 260 230 310 210 4-ф16 185 115
10 50-25-22-1200-4 50 110 140 4-ф14 735 265 165 280 500 50 20 260 230 310 210 4-ф16 185 115
11 50-40-15-1400-4 50 110 140 4-ф14 750 285 165 280 510 50 20 260 230 310 210 4-ф16 185 115
12 50-25-32-1600-5.5 50 110 140 4-ф14 820 315 165 280 570 50 20 260 230 310 210 4-ф16 185 115
13 50-40-30-1600-7.5 50 110 140 4-ф14 820 315 165 280 570 50 20 260 230 310 210 4-ф16 185 115
14 65-25-15-1400-3 65 130 160 4-ф14 750 290 145 330 500 65 25 275 255 310 225 4-ф18 190 115
15 65-37-13-1400-3 65 130 160 4-ф14 750 290 145 330 500 65 25 275 255 310 225 4-ф18 190 115
16 65-25-28-1400-4 65 130 160 4-ф14 800 340 145 330 550 65 25 275 255 310 225 4-ф18 190 115
17 80-40-7-1600-2.2 80 150 190 4-ф18 685 285 150 360 470 80 25 285 260 335 255 4-ф18 225 115
18 80-29-8-1600-2.2 80 150 190 4-ф18 685 285 150 360 470 80 25 285 260 335 255 4-ф18 225 115
19 80-43-13-1600-4 80 150 190 4-ф18 750 285 150 360 510 80 25 285 260 335 255 4-ф18 225 115
20 80-50-10-1600-3 80 150 190 4-ф18 790 360 150 360 540 80 25 285 260 335 255 4-ф18 225 115
21 80-40-15-1600-4 80 150 190 4-ф18 750 285 150 360 510 80 25 285 260 335 255 4-ф18 225 165
22 80-60-13-1600-4 80 150 190 4-ф18 750 285 150 360 510 80 25 285 260 335 255 4-ф18 225 115
23 80-35-25-1600-5.5 80 150 190 4-ф18 820 345 150 360 570 80 25 285 260 335 255 4-ф18 225 115
24 80-50-30-1600-7.5 80 150 190 4-ф18 820 345 150 360 570 80 25 285 260 335 255 4-ф18 225 135
25 80-50-30-1600-7.5 80 150 190 4-ф18 820 345 150 360 570 80 25 285 260 335 255 4-ф18 225 135
26 100-80-9-2000-4 80 150 190 4-ф18 790 390 200 420 550 100 25 340 310 400 305 4-ф20 250 135
27 100-110-10-2000-5.5 100 170 210 4-ф18 900 445 200 420 600 100 25 340 310 400 305 4-ф20 250 165
28 100-70-15-2000-5.5 100 170 210 4-ф18 900 435 200 420 600 100 25 340 310 400 305 4-ф20 250 195
29 100-100-15-2000-7.5 100 170 210 4-ф18 900 445 200 420 600 100 25 340 310 400 305 4-ф20 250 195
30 100-80-20-2000-7.5 100 170 210 4-ф18 900 345 200 420 570 100 25 340 310 400 305 4-ф20 250 240
31 100-50-35-2000-11 100 170 210 4-ф18 940 345 200 420 650 100 25 340 310 400 305 4-ф20 250 135
32 100-70-22-2000-7.5 100 170 210 4-ф18 900 345 200 420 570 100 25 340 310 400 305 4-ф20 250 135
33 100-100-22-2000-15 100 170 210 4-ф18 970 515 200 420 680 100 25 340 310 400 305 4-ф20 250 240
34 100-80-30-2000-15 100 170 210 4-ф18 970 515 200 420 680 100 25 340 310 400 305 4-ф20 250 240
35 150-150-10-2000-7.5 150 225 265 8-ф18 920 465 270 520 620 150 25 400 370 500 405 4-ф20 335 205
36 150-210-7-2500-7.5 150 225 265 8-ф18 950 515 270 520 650 150 25 400 370 500 405 4-ф20 335 230
37 150-250-6-2500-7.5 150 225 265 8-ф18 950 515 270 520 650 150 25 400 370 500 405 4-ф20 335 230
38 150-150-15-2500-11 150 225 265 8-ф18 990 465 270 520 690 150 25 400 370 500 405 4-ф20 335 225
39 150-200-10-2500-15 150 225 265 8-ф18 990 465 270 520 690 150 25 400 370 500 405 4-ф20 335 225
40 150-65-40-3200-18.5 150 225 265 8-ф18 1206 565 270 520 850 150 25 400 370 500 405 4-ф20 335 250
41 150-180-22-2600-18.5 150 225 265 8-ф18 1226 565 270 520 850 150 25 400 370 500 405 4-ф20 335 250
42 150-150-26-2600-18.5 150 225 265 8-ф18 1226 565 270 520 850 150 25 400 370 500 405 4-ф20 335 250
43 150-110-30-2600-18.5 150 225 265 8-ф18 1226 565 270 520 850 150 25 400 370 500 405 4-ф20 335 250
44 150-130-15-2600-22 150 225 265 8-ф18 1265 545 270 520 880 150 25 400 370 500 405 4-ф20 335 280
45 150-130-30-2600-22 150 225 265 8-ф18 1226 565 270 520 850 150 25 400 370 500 405 4-ф20 335 250
46 150-100-40-3000-30 150 225 265 8-ф18 1200 565 270 520 950 150 25 400 370 500 405 4-ф20 335 250
47 200-300-7-3000-11 200 280 320 8-ф18 1130 600 275 580 800 200 30 480 450 570 400 4-ф20 330 265
48 200-250-11-3000-15 200 280 320 8-ф18 1130 600 275 580 800 200 30 480 450 570 400 4-ф20 330 265
49 200-300-10-3000-15 200 280 320 8-ф18 1130 600 275 580 800 200 30 480 450 570 400 4-ф20 330 265
50 200-250-15-3000-18.5 200 280 320 8-ф18 1226 600 275 580 850 200 30 480 450 570 400 4-ф20 330 280
51 200-400-10-3000-22 200 280 320 8-ф18 1226 600 275 580 850 200 30 480 450 570 400 4-ф20 330 265
52 200-200-20-3000-22 200 280 320 8-ф18 1226 610 275 580 860 200 30 480 450 570 400 4-ф20 330 270
53 200-250-22-3000-30 200 280 320 8-ф18 1236 610 275 580 860 200 30 480 450 570 400 4-ф20 330 270
54 250-600-7-3000-22 250 335 375 12-ф18 1236 600 352 710 800 200 30 550 500 610 500 4-ф28 425 265
55 250-600-9-3000-30 250 335 375 12-ф18 1236 600 352 710 950 200 30 550 500 610 500 4-ф28 425 265

固定式自動耦合JYWQ、JPWQ排汙泵安裝尺寸表及示意圖(續)

JYWQ、JPWQ係列自動攪勻排汙泵結構示意圖2
JYWQ、JPWQ係列自動攪勻排汙泵結構示意圖2
T1 T2 L M m n e E
125 100 470 400 100 50 18 550×550
90 80 470 400 100 50 18 550×550
90 80 470 400 100 50 18 550×550
125 100 470 400 100 50 18 550×550
125 100 470 400 100 50 18 550×550
125 100 470 400 100 50 18 550×550
125 100 470 400 100 50 18 550×550
125 100 470 400 100 50 18 550×550
130 130 470 400 100 50 18 550×550
125 100 470 400 100 50 18 550×550
125 100 470 400 100 50 18 550×550
145 125 470 400 100 50 18 550×550
145 125 470 400 100 50 18 550×550
125 100 470 400 100 50 18 550×550
125 100 470 400 100 50 18 550×550
145 125 470 400 100 50 18 600×550
125 100 470 400 100 50 18 650×600
125 100 470 400 100 50 18 650×600
125 100 470 400 100 50 18 650×600
178 150 470 400 100 50 18 700×600
125 100 470 400 100 50 18 650×600
125 100 470 400 100 50 18 650×600
145 125 470 400 100 50 18 650×600
145 125 470 400 100 50 18 650×600
145 125 470 400 100 50 18 650×650
178 150 510 440 100 50 18 750×650
210 180 510 440 100 50 18 750×650
205 178 510 440 100 50 18 750×650
210 180 510 440 100 50 18 750×650
250 230 510 440 100 50 18 750×650
145 125 510 440 100 50 18 650×600
145 125 510 440 100 50 18 750×650
250 230 510 440 100 50 18 900×750
250 230 510 440 100 50 18 900×750
225 180 600 525 100 60 20 750×650
265 200 600 525 100 60 20 750×650
265 200 600 525 100 60 20 750×650
250 200 600 525 100 60 20 1000×800
250 200 600 525 100 60 20 1000×800
250 200 600 525 100 60 20 1000×800
260 238 600 525 100 60 20 1000×800
260 238 600 525 100 60 20 1000×800
260 238 600 525 100 60 20 1000×800
300 250 600 525 100 60 20 1000×800
260 238 600 525 100 60 20 1000×800
250 250 600 525 100 60 20 1000×800
295 240 600 525 100 60 20 1000×800
295 240 600 525 100 60 20 1000×800
295 240 600 525 100 60 20 1000×800
300 250 600 525 100 60 20 1000×800
295 240 600 525 100 60 20 1000×800
300 240 600 525 100 60 20 1000×800
300 240 600 525 100 60 20 1300×900
295 240 700 580 120 46 24 1300×900
295 240 700 580 120 46 24 1300×900

注:
1.本網頁的JYWQ、JPWQ係列自動攪勻排汙泵結構、結構圖、尺寸、參數、流量、揚程、電機轉速等主要性能參數,以及安裝尺寸圖、安裝尺寸表均隻適用於參考,詳細CAD圖、安裝圖、以及產品說明書請向賽泰水泵營銷人員索取。
2.由於編輯水平有限,錯誤和不妥之處在所難免,真誠希望您批評指正。

JYWQ、JPWQ係列自動攪勻排汙泵相關產品

下一頁:WQK、QG係列帶切割潛水排汙泵

返回至本係列目錄:排汙泵

上一頁:WQ型無堵塞汙水潛水排汙泵

關閉在線客服
"
  • 銷售熱線

  • 總機:
  • 手機:180 1631 9660